PA视讯科技微波小课堂_FinFET到底是什么呢?
提到FET,学电子的人都比较熟悉,FET就是Field-Effect Transistor,场效应管。FET是一种常见的三端口半导体器件,比较常见的是JFET(结型场效应晶体管)和金属氧化物场效应管MOSFET。下图给出了常见的场效应管的工作示意图,


那么FinFET到底是什么呢?FinFET被称为鳍式场效应晶体管,是一种新的互补式金属氧化物半导体晶体管。该项技术的发明人是加州大学伯克利分校的胡正明教授。

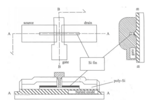
FinFeT与平面型MOSFET结构的主要区别在于其沟道由绝缘衬底上凸起的高而薄的鳍构成,源漏两极分别在其两端,三栅极紧贴其侧壁和顶部,用于辅助电流控制,这种鳍形结构增大了栅围绕沟道的面,加强了栅对沟道的控制,从而可以有效缓解平面器件中出现的短沟道效应,大幅改善电路控制并减少漏电流,也可以大幅缩短晶体管的栅长,也正由于该特性,FinFET无须高掺杂沟道,因此能够有效降低杂质离子散射效应,提高沟道载流子迁移率。

FinFET的主要特点是,沟道区域是一个被栅极包裹的鳍状半导体。沿源漏方向的鳍的长度,为沟道长度。栅极包裹的结构增强了栅的控制能力, 对沟道提供了更好的电学控制,从而降低了漏电流,抑制短沟道效应。 然而FinFET有很多种,不同的FinFET有不同的电学特性。下面根据衬底类型、沟道的方向、栅的数量、栅的结构,分别给予介绍。SOI FinFET 和体FinFET。根据FinFET衬底,FinFET可以分成两种。一种是SOI FinFET,一种是体FinFET。FinFET形成在体硅衬底上。由于制作的工艺不同,相比于SOI衬底,体硅衬底具有低缺陷密度,低成本的优点。此外,由于SOI衬底中埋氧层的热传导率较低,体硅衬底的散热性能也要优于SOI衬底。

FinFET的电子显微镜照片
Buk FinFET,SOI FinFET具有近似的寄生电阻、寄生电容,从而在电路水平上可以提供相似的功率性能。但是 SOI 衬底的轻鳍掺杂FinFET,相比于Buk FinFET,表现出较低的节电容,更高的迁移率和电压增益的电学性能。
FinFET到底有多牛?
对于场效应管,我们最常用的是MOSFET,全称是金属氧化物半导体场效应管:Metal Oxide Semiconductor Field Effect Transistor。MOSFET在1960年由贝尔实验室(Bell Lab.)的D. Kahng和 Martin Atalla首次实作成功,这种元件的操作原理和1947年肖克利(William Shockley)等人发明的双载流子结型晶体管(Bipolar Junction Transistor,BJT)截然不同,且因为制造成本低廉与使用面积较小、高整合度的优势,在大型集成电路(Large-Scale Integrated Circuits,LSI)或是超大型集成电路(Very Large-Scale Integrated Circuits,VLSI)的领域里,重要性远超过BJT。

但是MOSFET发明至今已有六十多年历史,随着半导体制程工艺的进步,MOSFET的限制越来越明显。我们知道,在 MOSFET 中,栅极长度(Gate length)大约 10 奈米,是所有构造中最细小也最难制作的,因此我们常常以栅极长度来代表半导体工艺的进步程度,这就是所谓的工艺线宽。栅极长度会随工艺技术的进步而变小,从早期的 0.18 微米、0.13 微米,进步到 90 奈米、65 奈米、45 奈米、22 奈米,到目前最新工艺 10 奈米。当栅极长度愈小,则整个 MOSFET 就愈小,而同样含有数十亿个 MOSFET 的芯片就愈小,封装以后的集成电路就愈小,最后做出来的手机就愈小啰!。
10 奈米到底有多小呢?细菌大约 1 微米,病毒大约 100 奈米,换句话说,人类现在的工艺技术可以制作出只有病毒 1/10(10 奈米)的结构,厉害吧!
但是当栅极长度缩小到 20 奈米以下的时候,遇到了许多问题,其中最麻烦的是当闸极长度愈小,源极和漏极的距离就愈近,栅极下方的氧化物也愈薄,电子有可能偷偷溜过去产生漏电(Leakage);另外一个更麻烦的问题,原本电子是否能由源极流到漏极是由闸极电压来控制的,但是栅极长度愈小,则栅极与通道之间的接触面积(图一红色虚线区域)愈小,也就是闸极对通道的影响力愈小,要如何才能保持闸极对通道的影响力(接触面积)呢?
因此美国加州大学伯克莱分校胡正明、 Tsu-Jae King-Liu、Jeffrey Bokor 等三位教授发明了鳍式场效晶体管(Fin Field Effect Transistor,FinFET),把原本 2D 构造的 MOSFET 改为 3D 的 FinFET,如图二所示,因为构造很像鱼鳍 ,因此称为鳍式(Fin)。

由图中可以看出原本的源极和漏极拉高变成立体板状结构,让源极和漏极之间的通道变成板状,则栅极与通道之间的接触面积变大了(图二黄色的氧化物与下方接触的区域明显比图一红色虚线区域还大),这样一来即使栅极长度缩小到 20 奈米以下,仍然保留很大的接触面积,可以控制电子是否能由源极流到汲极,因此可以更妥善的控制电流,同时降低漏电和动态功率耗损,所谓动态功率耗损就是这个 FinFET 由状态 0 变 1 或由 1 变 0 时所消耗的电能,降低漏电和动态功率耗损就是可以更省电的意思啰!
FinFET是栅极长度缩小到 20 奈米以下的关键,拥有这个技术的工艺与专利,才能确保未来在半导体市场上的竞争力。
当然场效应管也不是一成不变的,FinFET也不会是最终的选项,其演进一直在进行中。在过去的 17 年中,CMOS 技术在制造和建筑中使用的材料方面取得了重大进展。第一个巨大飞跃是在 90 nm 技术节点引入应变工程。随后的步骤是具有 45 nm 高 k 电介质的金属栅极,以及 22 nm 节点的 FinFET 架构。2012 年标志着第一个商用 22nm FinFET 的诞生。FinFET 架构的后续改进提高了性能并减少了面积。FinFET 的 3D 特性具有许多优势,例如增加鳍片高度以在相同的占位面积下获得更高的驱动电流。图 2 显示了 MOSFET 结构的演变:双栅、三栅、pi 栅、omega 栅和环栅。由于结构简单且易于制造,双栅极和三栅极 FinFET 很常见。尽管 GAA 器件是在 FinFET 之前提出的,但后者更适合执行生产。

未来,到底属于那种技术,让我们拭目以待,并努力向前。
参考文献
半导体最新技术-FinFET工艺简介 http://www.rs-online.com
FinFET Design, Manufacturability, and Reliability, http://www.synopsys.com/
http://www.utmel.com/blog/categories/transistors/introduction-to-finfet
http://baike.baidu.com/item/MOSFET?sefr=cr
http://baike.baidu.com/item/%E9%B3%8D%E5%BC%8F%E5%9C%BA%E6%95%88%E5%BA%94%E6%99%B6%E4%BD%93%E7%AE%A1/23200647










关注微博
关注微信
关注公众号
关注抖音号